2016-09-27 15:17:41

| 不 | 零件号。 | 量 | 零件名称 | 名称 |
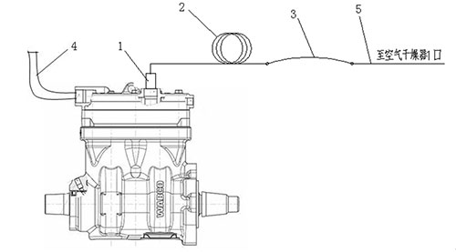
| 1. | 199112360189 | 1. | 贯穿接头体(M26/M22) | 直通接头体(M26/M22) |
| 2. | AZ9918360202 | 1. | 15空气压缩机/波纹管 | 管子15空压机/波纹管 |
| 3. | WG9100360183 | 1. | 不锈钢波纹管组件(300 mm) | 不锈钢波纹管总成(300毫米) |
| 4. | WG9918360101 | 1. | 橡胶软管(950 mm)长 | 橡胶软管(长950mm) |
| 5. | AZ9918360217 | 1. | 15波纹管/管干燥器 | 管子15波纹管/干燥器 |
| 其他管件 | ||||
| 190003989340 | 2. | 软管夹 | 软管卡箍 | |
| 190003559515 | 4. | 带对接螺母的管接头 | 管接头用对接螺母 | |
| 190003559562 | 4. | 卡片组 | 卡套 | |
| 190003098031 | 1. | 密封垫圈 | 密封垫圈 | |
| AZ9100362001 | 1. | 切套式直通接头具有本体 | 卡套式直通接头体 | |
| WG9000361016 | 1. | 支撑垫片M22X1。5. | 支撑垫圈M22X1.5 | |
| WG9000361017 | 1. | 20.3 X2.4 o形圈 | O型圈20.3X2.4 | |
| WG9918360500 | 1. | 螺旋管固定支架 | 螺旋管固定支架 | |
| 1188 730187 | 2. | 管夹 | 管夹 | |
| AZ9925360818 | 3. | 尖括号(3个孔) | 角形支架(三孔) | |
| WG9000365408 | 3. | 单管夹 | 单管夹子 | |
| 161000060211 | 3. | 15/21橡胶软管 | 橡胶软管15/21 | |
| Q150B1030 | 3. | 螺栓 | 六角头螺栓 | |
| Q340B10 | 3. | I型六角螺母 | 我型六角螺母 | |
| Q4010 | 3. | 平垫圈 | 平垫圈 | |
| Q40310 | 3. | 弹簧垫圈 | 弹簧垫圈 | |
| Q150B0635 | 2. | 螺栓 | 六角头螺栓 | |
| Q150B0620 | 3. | 螺栓 | 六角头螺栓 | |
| Q340B06 | 5. | I型六角螺母 | 我型六角螺母 | |
| Q40106 | 5. | 平垫圈 | 平垫圈 | |
| Q40306 | 5. | 弹簧垫圈 | 弹簧垫圈 | |
上一页:
桥式手制动控制线图下一步:
制动器和离合器踏板控制总成