2016-09-27 09:43:08

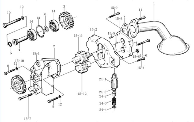
| n. º | parte n. º | parte nome | quantidade |
| 1 | VG1800070051 | sucção tubulação | 1 |
| 2 | VG14070055 | junta | 1 |
| 3 | VG14070061 | Idler gear | 1 |
| 4 | VG14070056 | do eixo | 1 |
| 5 | VG14070155 | o-Ring | 1 |
| 6 | VG14070049 | anel | 1 |
| 7 | VG14070078 | conjunta | 1 |
| 8 | 190003800551 | parafuso | 1 |
| 190003802527 | parafuso | 1 | |
| 10 | 190003802578 | parafuso | 1 |
| 11 | 190003802523 | parafuso | 2 |
| 12 | 190003931122 | arruela | 2 |
| 13 | 190003934732 | grampo de retenção | 1 |
| 14 | 190003311410 | rolamento de esferas | 2 |
| 15 | VG1500070021 | óleo bomba | 1 |
| 1/15 | VG1500070029 | frente capa | 1 |
| 2/15 | VG1500070015 | habitação | 1 |
| 3/15 | VG1500070024 | traseira cobrir | 1 |
| 4/15 8w81 61 x 1 Parafuso de | 190003800530 | 1 | |
| 5/15 | 190003901420 | Pin | 4 |
| 6/15 | 190003800566 | parafuso | 4 |
| 7/15 | 190003800579 | parafuso | 1 |
| 8/15 | 190003871303 | porca | 1 |
| 9/15 | 8 Parafuso de w8271x1 Q218B10701 | ||
| 10/15 | VG14070060 | engrenagem | 1 |
| 11/15 | VG1500070020 | engrenagem par | 1 |
| 24 | VG1560070099 | lançamento válvula C | 1 |
| 1/24 | VG1500070098 | válvula corpo | 1 |
| 2/24 | VG14070130 | válvula cone | 1 |
| 3/24 | VG14070131 | válvula Primavera | 1 |
| 4/24 | VG681270027 | arruela | 1 |
| 5/24 | VG9003920029 | 分裂皮诺 | 1 |