产品目录188bet亚洲真人体育
Тормозныеустройства.
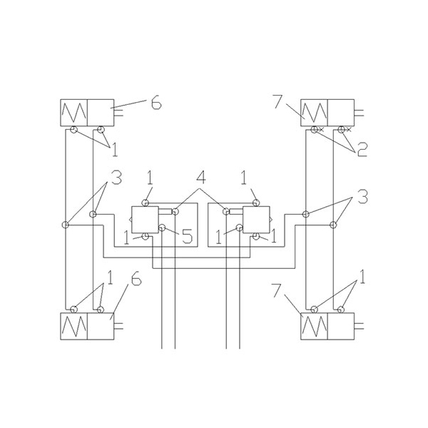
  • Линияуправленияблокировкойдифференциала
    Линияуправленияблокировкойдифференциала

    2016-09-27

    НЕ ЧАСТИ NO КОЛИЧЕСТВО имя 名 称 1 WG9000361201 1 правый угол разъема тела NG8 / NW6 直角接头体 NG8/NW6 2 WG9000361404 1 6 - NG8 NG12 / вспомогательный Газовый модуль 辅助用气模块 NG12/6-NG8 3 WG9000361204 1 NG12 / NW9 Угловые разъем тела 直角接头体 NG12/NW9 其他管路连接件 другие трубы фитинги WG9000361004 1 упругий элемент NG8 弹性元件 NG8 WG9000361005 1 стопорное кольцо NG8 卡簧 NG8 WG9000361006 1 гайка сиденья NG8 螺母座 NG8 19...

    阅读更多
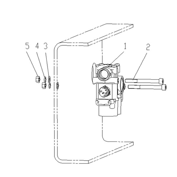
  • ЗапорногоКлапанасоленоидаBAB(Передняячасть)
    ЗапорногоКлапанасоленоидаBAB(Передняячасть)

    2016-09-27

    № Арт.НР количество имя китайское имя 1 WG9000360515 2 ABS электромагнитный клапан WABCO ABS 电磁阀 WABCO 2 Q150B0880 4 болт 螺栓 3 Q40108 4 плоская шайба 平垫圈 4 Q40308 4 весной шайба 弹簧垫圈 5 Q340B08 4 типа 1 Шестигранная гайка 1 型六角螺母

    阅读更多
  • ABSэлектромагнитныйклапанвСборе(ЗадняяОсьчастей)
    ABSэлектромагнитныйклапанвСборе(ЗадняяОсьчастей)

    2016-09-27

    № Арт.НР количество имя китайское имя 1 AZ9725360027 2 стентов (ABS электромагнитный клапан) 支架 ( ABS 电磁阀) 2 Q150B1045 4 Шестигранная гайка 六角螺母 3 WG9000360515 2 ABS электромагнитный клапан WABCO ABS 电磁阀 WABCO 4 Q150B0880 4 болт 螺栓 5 Q40108 4 плоскаяшайба平台6 Q40308 4Веснойшайба弹簧弹簧7Q340B084Типа1шестиграннаягайка1

    阅读更多
  • Трактораспиральныетрубыкронютейнвсборе
    Трактораспиральныетрубыкронютейнвсборе

    2016-09-27

    НЕ ЧАСТИ NO количество имя части 名 称 1 AZ9925360813 1 спиральная трубка монтажа кронштейн сборки 螺旋管安装支架总成 2 Q340810 8 Шестигранная гайка 六角螺母 3 Q40310 8 весной шайба 弹簧垫圈 4 Q40110 8 плоская шайба 平垫圈 5 AZ9725550001 8 большой шайба 大垫圈6 Q150B1040 8СшестиграннойГоловкой六角头六角头7Q150B0820 6Сшестиграннойголовкой六角头六角头8 AZ9718360028 1РабочийСветМонтажныйкронютейн工作室安装支架9 Q401086Плоская...

    阅读更多
  • Клапануправленияприцепа.
    Клапануправленияприцепа.

    2016-09-27

    НЕ ЧАСТИ NO КОЛИЧЕСТВО ИМЯ 名 称 1 WG9000360525 1 прицепа управления клапан 挂车控制阀 2 AZ9925360847 1 прицеп управления клапан стенты 挂车控制阀支架 3 Q40108 2 плоская шайба 平垫圈 4 Q40308 2 весной шайба 弹簧垫圈 5 Q340808 2 типа 1 Шестигранная гайка 1 型六角螺母6 Q150B10402Сшестиграннойголовкой六角头六角头螺栓7 Q401102Плоскаяшайба平静8 Q40310 2Веснойшайба弹簧弹簧垫圈垫圈垫圈垫圈垫圈9 q340810 2шестиграннаягайка六角六角...

    阅读更多
  • КастингБарзапорногоКлапанареле
    КастингБарзапорногоКлапанареле

    2016-09-27

    НЕ ЧАСТИ NO КОЛИЧЕСТВО ИМЯ ЧАСТИ 名 称 1 WG9000360524 2 Реле клапана 继动阀 2 AZ9725360044 2 Реле клапана стентов 继动阀支架 3 Q40108 4 плоская шайба 平垫圈 4 Q40308 4 весной шайба 弹簧垫圈 5 Q340B08 4 типа 1 Шестигранная гайка 1 型六角螺母6Q340b10 4шестиграннаягайка六角六角7Q40310 4Веснойшайба弹簧垫圈8Q401104Плоскаяшайба平台9 Q150B10354СшестиграннойГоловкой六角头六角头...

    阅读更多
  • Фиксированнаяпарковкаивспомогательныйгазовыйгазовыйрезервуар
    Фиксированнаяпарковкаивспомогательныйгазовыйгазовыйрезервуар

    2016-09-27

    НЕ ЧАСТИ NO КОЛИЧЕСТВО ИМЯ 名 称 1 WG9000360715 1 воздуха цилиндр Ассамблеи Φ 275/30 л 储气筒总成 Φ275/30 Л 2 Q340B12 6 Шестигранная гайка 六角螺母 3 Q40312 6 весной шайба 弹簧垫圈 4 Q40112 6 плоская шайба 平垫圈 5 Q150B1240 6 с шестигранной головкой 六角头螺栓 6 AZ9925360860 1 воздуха cy Линдер кронштейн сборки 储气筒支架总成 7 WG9000360716 1 воздуха цилиндр Ассамблеи Φ 275/20 л 储气筒总成 Φ275/20 Л 8 WG9719360024 4 затянуть пояса...

    阅读更多
  • ПередняяОсьФиксированныйгазовыйрезервуар
    ПередняяОсьФиксированныйгазовыйрезервуар

    2016-09-27

    НЕ ЧАСТИ NO КОЛИЧЕСТВО ИМЯ 名 称 1 AZ9925360840 2 поддержки сборки 支架总成 2 WG9000360715 1 воздуха цилиндра Ассамблеи Φ 275/30 л 储气筒总成 Φ275/30 Л 3 Q340B10 6 Шестигранная гайка 六角螺母 4 Q40310 6 весной шайба 弹簧垫圈 5 Q401108Плоскаяшайба平静6 WG991183600192ЗатянутьременьАссеасамблея紧固带带总7 Q5003214 2шплинт开口销8 WG93 250096 4垫片隔套9 Q150B10554Сшестиграннойголовкой六角头螺栓10 Q5101048 2 8W ...

    阅读更多
  • Сушилка+четырепетли+ЗаднийМостфиксированныйгазовыйрезервуар
    Сушилка+четырепетли+ЗаднийМостфиксированныйгазовыйрезервуар

    2016-09-27

    № Арт.НР количество имя части китайское имя 1 AZ9925360844 1 воздуха цилиндра кронштейн сборки 储气筒支架总成 2 Q40112 9 плоская шайба 平垫圈 8w82 31 x 1 3 Q40312 9 весной шайба 弹簧垫圈 4 Q340B12 6 типа Ⅰ Шестигранная гайка Ⅰ型六角头螺母 5 WG9000360519 1 клапан переполнения 0,6 МПа без возврата 溢流阀 0.6Mpa 无回流 6 Q151C1230 3 с шестигранной головкой (зубы) 六角头螺栓 ( 细牙 ) 7 190003559385 1 через совместного органа 2 - M22 ...

    阅读更多
  • Усилительсцепленияивспомогательныйгазовыймодульисточникагаза
    Усилительсцепленияивспомогательныйгазовыймодульисточникагаза

    2016-09-27

    НЕ ЧАСТИ NO КОЛИЧЕСТВО ИМЯ 名 称 1 WG9000361201 1 правый угол разъема тела NG8 / NW6 直角接头体 NG8/NW6 2 WG9000361404 1 6 - NG8 NG12 / вспомогательный Газовый модуль 辅助用气模块 NG12/6-NG8 3 WG9000361204 1 NG12 / NW9 Угловые разъем тела 直角接头体 NG12/NW9 其他管路连接件 другие трубы фитинги WG9000361004 1 упругий элемент NG8 弹性元件 NG8 WG9000361005 1 стопорное кольцо NG8 卡簧 NG8 WG9000361006 1 гайка сиденья NG8 螺母座 NG8 19...

    阅读更多
  • Контрольпередачигаза.
    Контрольпередачигаза.

    2016-09-27

    № Арт.НР количество имя китайское имя 1 WG9000361201 1 правый угол разъема тела NG8 / NW6 直角接头体 NG8/NW6 2 WG9000361317 1 T совместное тройник тело 3 - NW6 Т 型三通接头体 3-NW6 其他管路连接件 другие трубыФитингиWG90003610041УпругийэлементNG8弹性元件NG8 WG9000361004 1СтопорноекольцоNG8卡簧NG8 WG90003610061ГайкаСиденьяNG8螺母座NG8 1900031797814Полиамидныетрубки聚酰胺管...

    阅读更多
  • УправлениеГазатормознойвыхлопныхгазовДвигателя
    УправлениеГазатормознойвыхлопныхгазовДвигателя

    2016-09-27

    НЕ ЧАСТИ NO количество имя 名 称 1 WG9000361107 2 через совместный NG6 / NW4 直通接头体 NG6/NW4 其他管路连接件 другие трубы WG9000361001 2 упругий элемент NG6 弹性元件 NG6 WG9000361002 2 стопорное кольцо NG6 卡簧 NG6 WG9000361003 2 гайка сиденья NG6 螺母座ng6 1900031797825ПолиамидPhiТруба6聚酰胺聚酰胺子φ6...

    阅读更多
  • КолонкиуправленияЛинии.
    КолонкиуправленияЛинии.

    2016-09-27

    № Арт.НР количество имя китайское имя 1 WG9000270002 1 двойной ai r Рог без стенты 双音气喇叭无支架 2 WG9000361107 4 через совместный NG6 / NW4 直通接头体 NG6/NW4 3 3 WG9000361109 1 через совместный NG8 / NW4 直通接头体 NG8/ nw4 4 wg9000361405 1 2 - ng6кроссс-соединителитела/ m10 x 1/16普通繁体2-ng6 / m10×1 / l6 5 wg90002700041Воздухарогассамблеи(Арбор)气喇叭气喇叭成(长杆)6WG9000270005 1ВоздухарогСборки(Стержен...

    阅读更多
  • частиabsпереднейоси(Вверх)
    частиabsпереднейоси(Вверх)

    2016-09-27

    Нечастиnoколичествоимяn称1wg9000360101 1 24«диафрагмытипатормознойкамеры(Справа)。24" 膜片式制动气室(右) 2 WG9000361401 2 давления испытания совместной Ассамблеи 压力测试接头总成 3 WG9003559901 2 карты рукав тройник Объединенного тела M18 / М22 / M12 卡套式三通接头体 M18/М22/M12 4WG97253604512ТормознойэлангАссамблеи(670)血液动动软管软管成(长670)5 WG9000361101 1ерезсовместныйng12/ nw9普通繁体NG12 / NW9 6 WG900 ...

    阅读更多
  • Передняячасть(Диск)
    Передняячасть(Диск)

    2016-09-27

    Нечастиnoколичествоимяn称1wg9000360101 1 24«диафрагмытипатормознойкамеры(Справа)。24" 膜片式制动气室(右) 2 190003559955 2 правый угол разъема тела 直角接头体 3 WG9725360451 2 тормозной шланг Ассамблеи (670) 制动软管总成 (长 670 ) 4 WG9000361105 2 L12 прямо через разъем платы перерезатьТипРукаваИмеетТело/ NG12卡套式直通道板板体L12 / NG12 5 WG9000361204 1 NG12 / NW9УгловыеразъемТела直角直角体NG12 / NW9 6 WG9000361 ...

    阅读更多
  • Двойнойзаднегомостачастиabs
    Двойнойзаднегомостачастиabs

    2016-09-27

    НЕ ЧАСТИ NO КОЛИЧЕСТВО ЧАСТИ ИМЕНИ 称 名 1 WG9000361204 10 NG12 / NW9 правый угол разъем тела 直角接头体NG12/NW9 2 WG9000361305 2 L NG12/2 - NW9 тройник совместный орган L 型三通接头体 NG12/2-NW9 3 WG9000361406 3тройник совместный орган NW9 / NG12 / ТЕСТ Т 型接头体 NW9/NG12/ТЕСТ 4 WG9000361310 2 T 3 - NW9 тройник совместный орган T型三通接头体3-NW9 5 WG9000361101 2 через совместный NG12 / NW9 直通接头体NG12/NW96 WG90003612 ......

    阅读更多
  • частидвойнойзаднейоси
    частидвойнойзаднейоси

    2016-09-27

    НЕ ЧАСТИ NO КОЛИЧЕСТВО ЧАСТИ ИМЕНИ 称 名 1 WG9000361204 11 NG12 / NW9 Угловые разъем тела 直角接头体 NG12/NW9 2 WG9000361406 2 тройник совместный орган NW9 / NG12 / ТЕСТ Т 型接头体 NW9/NG12/ТЕСТ 3 WG9000361310 4 T 3 - NW9 тройник совместных Т 型三通接头体 3-NW9 4 WG9000361201 2 правый угол разъема тела NG8 / NW6 直角接头体 NG8/NW6 5 WG9000361203 1 NG12 / правый угол разъема NW12 тела 直角接头体NG12/NW12 6 WG9000360600 2 диа...

    阅读更多
  • частьуправленияприцепа.
    частьуправленияприцепа.

    2016-09-27

    НЕ ЧАСТИ NO КОЛИЧЕСТВО части имени 名 称 1 WG9000361204 4 NG12 / NW9 Угловые разъем тела 直角接头体 NG12/NW9 2 WG9000361101 1 через совместный NG12 / NW9 直通接头体 NG12/NW9 3 WG9000361304 1 Л тройник совместный орган NG12/2 - NW6 Л 型三通接头体 NG12/2-NW6 4 WG9000361105 2 L12 прямо через разъем платы резки втулки типа имеет тело/NG12 卡套式直通过板接头体 L12 / NG12 5 WG9000360140 2 Спиральные трубки 螺旋管 6 190004000000 2 кон...

    阅读更多
  • 1

  • 2
  • >>
  • 总计

    2

    页面
联系我们
  • 电话:+86 531 6138 8377

    传真:+86 531 6138 8177

  • 罗伯特:008618766172431

  • 电子邮件:sales@topleadzzl.com.

  • Skype:罗伯特科

  • 中国济南天乔治区兰翔路15号建筑2号楼

188bet体育在线外围