2016-09-27 14:29:57

| 不。 | 零件号 | 零件名称 | 数量 |
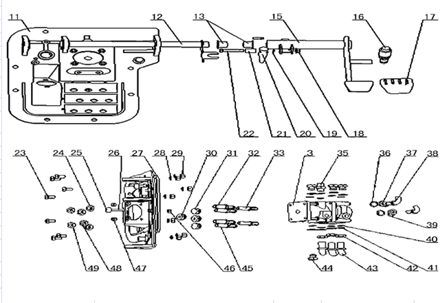
| 11 | AZ9719360050 | 组合支架 | 1 |
| 12 | AZ9719360051 | 轴 | 1 |
| 13 | AZ9719360060 | 衬套 | 2 |
| 14 | Q1840616 | 拧紧 | 1 |
| 15 | AZ9719360055 | 刹车脚踏板 | 1 |
| 16 | WG9100710006 | 制动灯开关 | 1 |
| 17 | AZ9123230226 | 橡胶盖 | 1 |
| 18 | Q341B08 | 坚果 | 1 |
| 19 | Q5002016 | 拆分销 | 1 |
| 20 | AZ9719360063 | 推杆 | 1 |
| 21 | AZ9719360062 | 螺栓 | 1 |
| 22 | Q173B0845 | 拧紧 | 1 |
| 23 | Q150B1020 | 拧紧 | 5 |
| 23a | Q150B1025 | 拧紧 | 2 |
| 24 | Q351B14T15 | 坚果 | 2 |
| 25 | AZ9123360067 | 插头 | 1 |
| 26 | Q150B0845 | 拧紧 | 1 |
| 27 | AZ9719360099 | 密封轮廓 | 1 |
| 28 | Q40310 | 春季洗衣机 | 7 |
| 29 | Q340B10 | 坚果 | 7 |
| 30 | AZ9719360018 | 橡胶袖 | 2 |
| 31 | AZ9719360019 | 插头 | 2 |
| 32 | AZ9719360010 | 联合的 | 2 |
| 33 | AZ9719360009 | 角度拧紧 | 2 |
| 35 | 190003559945 | 拧紧 | 1 |
| 36 | 1288 730061 | 垫圈 | 2 |
| 37 | Q351C12T15 | 坚果 | 2 |
| 38 | WG9100361003 | 角度拧紧 | 2 |
| 38/a | WG9100361001 | 拧紧 | 2 |
| 39 | 199000360477 | 垫圈 | 2 |
| 40 | 1406 070015 | 垫圈 | 8 |
| 41 | WG9000360292 | 垫圈 | 8 |
| 42 | Q351B16T15 | 坚果 | 3 |
| 43 | 190003559946 | 角度拧紧 | 3 |
| 44 | Q617B16 | 拧紧 | 4 |
| 45 | AZ9719360010 | 角度喷嘴 | 2 |
| 45/a | WG9719360010 | 角度喷嘴 | 2 |
| 46 | Q150B0830 | 拧紧 | 4 |
| 47 | Q340B08 | 坚果 | 1 |
| 48 | Q33208 | 坚果 | 4 |
| 49 | Q351C12T15 | 坚果 | 2 |
| 50 | 612600080213 | 阀门 | 1 |
下一个:
驾驶员驾驶室中的电气等式