制动装置
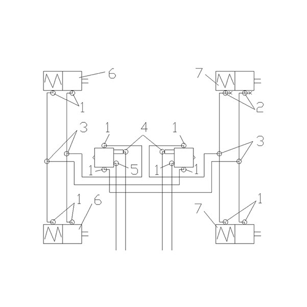
  • 差分锁定控制线
    差分锁定控制线

    2016-09-27

    没有任何数量部分名称名称称1WG9000361201 1直角连接器主体NG8 / NW6直角直角体NG8 / NW6 2 WG9000361404 1 6 - NG8 NG12 /辅助气体模块辅助气NG12 / 6-NG8 3 WG9000361204 1 NG12 / NW9直角连接器主体直角接头体NG12 / NW9其他管路连接其他管道接头WG9000361004 1弹性元件NG8弹性元件NG8 WG9000361005 1 Circlip NG8卡簧NG8 WG9000361 ...

    阅读更多
  • ABS电磁阀组件(前轴零件)
    ABS电磁阀组件(前轴零件)

    2016-09-27

    不。零件数量部分名称中文名称1 WG9000360515 2 ABS电磁阀WABCO ABS电磁阀电阻WABCO 2 Q150B0880 4螺栓螺栓3 Q40108 4平垫圈平台4 Q40308 4弹簧垫圈弹簧5 Q340B08 4型1六角螺母1六角螺母

    阅读更多
  • ABS电磁阀总成(后桥部件)
    ABS电磁阀总成(后桥部件)

    2016-09-27

    不。零件数量部分名称中文名称1 AZ9725360027 2支架(ABS电磁阀)支架(ABS电磁阀)2 Q150B1045 4六角螺母六角螺母3 WG9000360515 2 ABS电磁阀WABCO ABS电池电气WABCO 4 Q150B0880 4螺栓螺栓5 Q40108 4平洗衣机平台6 Q40308 4弹簧垫圈弹簧垫圈7 Q340B08 4型六角螺母1型六角螺母8 Q40110 4平垫圈平台9 Q40310 4弹簧垫圈弹簧10 Q340b10 4型1六型六六号

    阅读更多
  • 拖拉机螺旋管支架总成
    拖拉机螺旋管支架总成

    2016-09-27

    没有部分数量部分名称名称1 AZ9925360813螺旋管安装支架装配螺旋管安装支架总成2 Q340810 8六角螺母六角螺母3 Q40310 8弹簧垫圈弹簧垫圈4 Q40110 8平垫圈平垫圈5 AZ9725550001 8大垫圈大垫圈6 Q150B1040 8六角头螺栓六角头螺栓7 Q150B0820 6六角头螺栓六角头螺栓8 AZ9718360028 1工作灯安装支架工作灯安装支架9 Q40108 6平垫圈平垫圈……

    阅读更多
  • 拖车控制阀
    拖车控制阀

    2016-09-27

    没有任何部分没有数量零件名称名称称1WG9000360525 1拖车控制阀挂车控制阀2 AZ9925360847 1拖车控制阀支架挂车控制控制支架3 Q40108 2平面垫圈平板4 Q40308 2弹簧垫圈弹簧垫圈5 Q340808 2型1六角形螺母1型六角螺母6 Q150B1040 2六角形螺栓六角头螺栓7 Q40110 2平面垫圈平台8 Q40310 2弹簧垫圈弹簧垫圈9 Q340810 2六角螺母六角螺母...

    阅读更多
  • 铸棒继电器阀组件
    铸棒继电器阀组件

    2016-09-27

    没有部分数量部分名称名称1 WG9000360524 2继动阀继动阀2 AZ9725360044继动阀支架继动阀支架3 Q40108 4平垫圈平垫圈4 Q40308弹簧垫圈弹簧垫圈5 Q340B08 4 1型六角螺母1型六角螺母6 Q340B10 4六角螺母六角螺母7 Q40310 4弹簧垫圈弹簧垫圈8 Q40110 4平垫圈平垫圈9 Q150B1035 4六角头螺栓六角头螺栓……

    阅读更多
  • 固定停车库和辅助气库
    固定停车库和辅助气库

    2016-09-27

    没有数量不数零件名称名称称1WG9000360715 1气缸组件Φ275/ 30L储气筒成Φ275/ 30L 2 Q340B12 6六角螺母六角螺母3 Q40312 6弹簧垫圈弹簧4 Q40112 6平垫圈平面5 Q150B1240 6六角头螺栓六角头螺栓6 AZ9925360860 1气缸支架组件储气筒储气筒成7 WG9000360716 1气缸组件Φ275/ 20L 8 WG9719360024 4拧紧带组件紧固带总...

    阅读更多
  • 前桥固定燃气藏
    前桥固定燃气藏

    2016-09-27

    没有数量不数量零件名称名称称1 az9925360840 2支撑组件支架支架成2 wg9000360715 1气缸组件φ275/ 30l 3 q340b10 6六角螺母六角4 q40310 6弹簧垫圈弹簧弹簧5 q401108平垫圈平台6 WG99118360019 2拧紧带组件紧固紧固带成7 Q5003214 2配码销销开口销8 WG93 250096 4间隔仪9 Q150B1055 4六角形螺栓六角头螺栓10 Q5101048 2针销轴...

    阅读更多
  • 烘干机+四环+后轴固定燃气藏
    烘干机+四环+后轴固定燃气藏

    2016-09-27

    不。部分没有。数量部分名称的中文名字1 AZ9925360844气缸支架装配储气筒支架总成2 Q40112 9平垫圈平垫圈3 Q40312 9弹簧垫圈弹簧垫圈4 Q340B12 6Ⅰ型六角螺母Ⅰ型六角头螺母5 WG9000360519 1溢流阀0.6 MPa没有返回溢流阀0.6 MPa无回流6 Q151C1230 3六角头螺栓(牙齿)六角头螺栓(细牙)通过联合身体2 - 7 190003559385 1锰x 1.5隔壁隔壁直通接头……

    阅读更多
  • 离合器增压器和辅助气体源气体模块
    离合器增压器和辅助气体源气体模块

    2016-09-27

    没有部分数量部分名称名称1 WG9000361201直角接头体NG8 / NW6直角接头体NG8 / NW6 2 WG9000361404 1 6 - NG8 NG12 /辅助气体模块辅助用气模块NG12/6-NG8 3 WG9000361204 1 NG12 / NW9直角接头身体直角接头体NG12 / NW9其他管路连接件其他管件WG9000361004 1弹性元件NG8弹性元件NG8 WG9000361005 1挡圈NG8卡簧NG8 WG9……

    阅读更多
  • 燃气传输控制
    燃气传输控制

    2016-09-27

    不。部分没有。数量部分名称的中文名字1 WG9000361201直角接头体NG8 / NW6直角接头体NG8 / NW6 2 WG9000361317 1 T T形接头体3 - NW6 T型三通接头体3-NW6其他管路连接件其他管件WG9000361004 1弹性元件NG8弹性元件NG8 WG9000361004 1挡圈NG8卡簧NG8 WG9000361006 1螺母座NG8螺母座NG8 190003179781 4聚酰胺管聚酰胺管…

    阅读更多
  • 发动机排气制动气体控制
    发动机排气制动气体控制

    2016-09-27

    没有部分数量部分名称名称1 WG9000361107 2通过联合NG6 / NW4直通接头体NG6 / NW4其他管路连接件其他管件WG9000361001 2弹性元件NG6弹性元件NG6 WG9000361002 2挡圈NG6卡簧NG6 WG9000361003 2螺母座NG6螺母座NG6 190003179782 5聚酰胺管φ6聚酰胺管子φ6

    阅读更多
  • 演讲者控制线
    演讲者控制线

    2016-09-27

    不。部分没有。数量部分名称的中文名字WG9000270002 1双扬声器没有支架双音气喇叭无支架2 WG9000361107 4通过联合NG6 / NW4直通接头体NG6 / NW4 3 3 WG9000361109 1通过联合NG8 / NW4直通接头体NG8 / NW4 4 WG9000361405 1 2 - NG6交叉连接器的身体/ M10 x 1 / 16种十字四通接头体2-NG6 / M10×1 / 16种5 WG9000270004 1空气喇叭……

    阅读更多
  • 前桥零件ABS(UP)
    前桥零件ABS(UP)

    2016-09-27

    没有部分数量部分名称名称1 WG9000360101 24”膜片式制动气室(右)。24“膜片式制动气室(右)2 WG9000361401 2压力测试接头装配压力测试接头总成3 WG9003559901 2卡套t形接头体M18 /锰/ M12卡套式三通接头体M18 /锰/ M12 4 WG9725360451 2制动软管总成(670)制动软管总成(长670)5 WG9000361101 1通过联合NG12 / NW9直通接头体NG12 /西北……

    阅读更多
  • 前轴部分(盘)
    前轴部分(盘)

    2016-09-27

    没有任何部件没有数量部分名称名称称1WG9000360101 1 24“隔膜型制动室(右)。24”膜片式制动态(右)2 190003559955 2直角连接器主体直角直角体3 WG9725360451 2制动软管组件(670)6000370)4 WG9000361105 2 L12直接穿过切割套筒型板连接器具有主体/ NG12卡套式直通道封闭体L12 / NG12 5 WG9000361204 1 NG12 / NW9直角连接器身体......

    阅读更多
  • ABS双后轴零件
    ABS双后轴零件

    2016-09-27

    没有部分数量部分名称名称1 WG9000361204 10 NG12 / NW9直角接头身体直角接头体NG12 / NW9 2 WG9000361305 2 L NG12/2——NW9 T形接头体L型三通接头体NG12/2-NW9 3 WG9000361406 3 T形接头体NW9 / NG12 /测试T型接头体NW9 / NG12 /测试4 WG9000361310 2 T 3 - NW9 T形接头体T型三通接头体通过联合NG12 / NW9 3-NW9 5 WG9000361101 2直通接头体NG12 / NW9 6 WG9000361201 2直角conne…

    阅读更多
  • 双后轴零件
    双后轴零件

    2016-09-27

    没有数量不数量零件名称名称称1 WG9000361204 11 NG12 / NW9直角连接器BODY直角直角体NG12 / NW9 2 WG9000361406 2 TEE关节体NW9 / NG12 / TEST T型接头体NW9 / NG12 /试验3 WG9000361310 4 T 3- NW9 TEE接头体T型三通档体3-NW9 4 WG9000361201 2直角连接器主体NG8 / NW6直角直角体NG8 / NW6 5 WG9000361203 1 NG12 / NW12直角连接器主体直角直角体NG12 / NW12 6 WG9000360600 2。..

    阅读更多
  • 拖车控制部分
    拖车控制部分

    2016-09-27

    没有数量不数零件名称称1WG9000361204 4 NG12 / NW9直角连接器主体直角直角体NG12 / NW9 2 WG9000361101 1通过联合NG12 / NW9普通繁体NG12 / NW9 3 WG9000361304 1 L T型接头体NG12 / 2 - NW6L型三通繁体NG12 / 2-NW6 4 WG9000361105 2 L12直接通过板连接器的切割套筒型具有主体/ NG12卡套式直通道板体L12 / NG12 5 WG9000360140 2螺旋管№6190004000000。..

    阅读更多
  • 1

  • 2
  • >>
  • 总共

    2

    页面
联系我们
  • 电话:+86 531 6138 8377

    传真:+86 531 6138 8177

  • 罗伯特:008618766172431

  • 电子邮件:sales@topleadzzl.com

  • Skype:roberttoplead

  • 中国济南市田桥区兰翔路15号2区5栋

188bet体育在线外围