2016-09-27

| 无 | 编NO | 量化性 | 段名 | ++ |
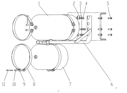
| 一号 | WG90000360715 | 一号 | 气瓶汇编++275/30l | 储气筒总成275/30L |
| 2 | 340B12 | 6 | 六角坚果 | 六角螺母 |
| 3 | 问题40312 | 6 | SpringAsher系统 | 弹簧垫圈 |
| 4 | 问题40112 | 6 | 平面Asher | 平垫圈 |
| 5 | 150B1240 | 6 | 六边形头核 | 六角头螺栓 |
| 6 | 992536086 | 一号 | 气瓶括号汇编 | 储气筒支架总成 |
| 7 | WG9000360716 | 一号 | 气瓶汇编++275/20l | 储气筒总成275/20L |
| 8 | 97360024 | 4 | 紧带汇编 | 紧固带总成 |
| 九九 | 09190017 | 4 | 张力插针 | 拉紧销 |
| 10 | WG700550013 | 4 | 张力插针 | 张紧销 |
| 11 | 218B0880 | 4 | ex柱头螺旋 | 内六角圆柱头螺钉 |