2016-09-27

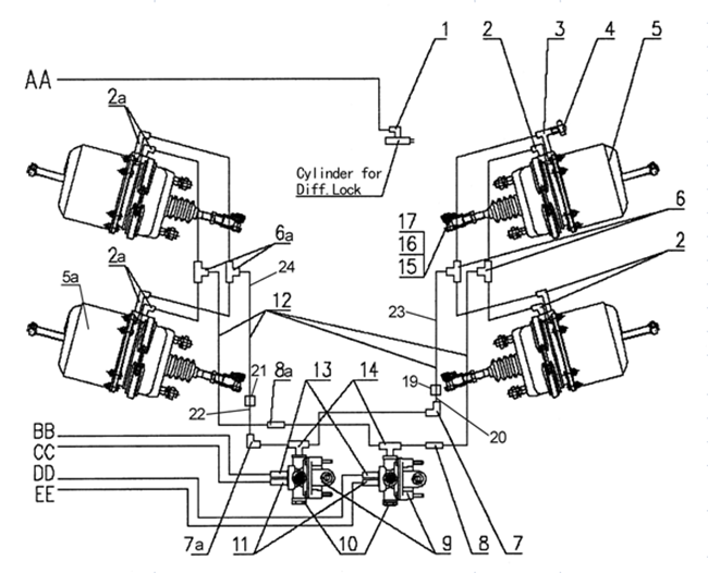
| 号 | 段 次 页 次 | 部件名 | 质量 |
| 一号 | 19003559496 | 角喷嘴 | 一号 |
| 2 | 19003559946 | 角喷嘴 | 7 |
| 3 | 99100360114 | 口令 | 一号 |
| 4 | WG900360314 | 测试连接器 | 一号 |
| 5 | 91003603 | spring制动器 | 2 |
| 6 | WG900355006 | 口令 | 2 |
| 7 | 19003559479 | 喷嘴 | 一号 |
| 8 | 19003559474 | 喷嘴 | 一号 |
| 九九 | WG90000360134 | 中继阀 | 2 |
| 9/A | WG9000360524 | 中继阀 | 2 |
| 10 | 19003962038 | 螺旋 | 2 |
| 11 | 19003559948 | 喷嘴 | 2 |
| 12 | 17017360470 | 刹车Hose | 2 |
| 12A | 17017360490 | 刹车Hose | 2 |
| 13 | 19003559947 | 喷嘴 | 2 |
| 14 | 99100360112 | 口令 | 2 |
| 15 | 190039036 | 博尔特 | 4 |
| 16 | 问题40114 | 华瑟市 | 4 |
| 17 | 问题5004022 | 分割插针 | 4 |