2015-10-12 09:53:39.

不。 |
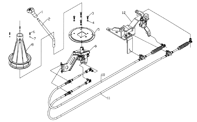
部分号 |
中文名 |
零件名称 |
1 |
DZ93259240069 |
十档仪器换档手柄
|
十个换档杆 |
2 |
DZ9114240537 |
操纵杆
|
控制杆, |
3. |
M10 * 25.(GB5783-86的)
|
六角螺栓
|
六角形螺栓 |
4. |
10.(GB93-87的)
|
弹簧垫圈
|
春天洗衣机 |
5. |
DZ9114240536 |
驾驶室固定板
|
驾驶室安装板 |
6. |
M5 * 10.(GB815-85的)
|
十字槽盘头螺钉
|
交叉嵌入沉头螺钉 |
7. |
5.(GB93-87的)
|
弹簧垫圈
|
春天洗衣机 |
8. |
DZ9114240564 |
防尘罩(含压圈)
|
防尘罩(压圈) |
9. |
DZ9114240533 |
变速变速器
|
变速控制设备 |
10. |
DZ95259240007 |
换挡软轴总成
|
换档轴组件 |
11. |
DZ95259240008 |
选挡软轴总成
|
齿轮选择轴组件 |
12. |
DZ95259240009 |
软轴支架及转换机械
|
柔性轴支架和开关机构 |
上一篇:
F3000.12转移evece.下一个:
F3000.9移位evece.