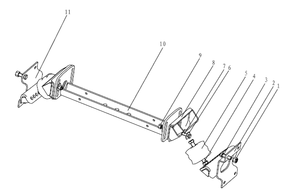
2015-10-1014:53:51

号
|
段 次 页 次
|
中文名
|
部件名
|
一号
|
问题33214
|
2型全金属六角缩紧螺
|
ex锁坚果
|
2
|
DZ93259594100
|
美术馆
|
左括号
|
3
|
150B1435
|
左支架总成
|
ex锁螺旋
|
4
|
150B1620
|
六角头螺栓
|
ex锁螺旋
|
5
|
DZ9114590125
|
六角头螺栓
|
橡胶板
|
6
|
问题40212
|
橡胶缓冲块
|
华瑟市
|
7
|
150B1235
|
大垫圈
|
ex锁螺旋
|
8
|
8141506.5269
|
六角头螺栓
|
支持括号
|
九九
|
问题33212
|
托架
|
ex锁坚果
|
10
|
DZ9112590889
|
2型全金属六角缩紧螺
|
跨成员Assy
|
11
|
DZ93259594101
|
美术馆
|
右括号
|
横梁总成
|
|||
右支架总成
|
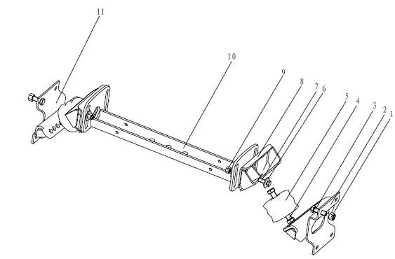
号
|
段 次 页 次
|
中文名
|
部件名
|
一号
|
问题33214
|
2型全金属六角缩紧螺
|
ex锁坚果
|
2
|
DZ9118593007
|
美术馆
|
左括号
|
3
|
150B1435
|
左支架总成
|
ex锁螺旋
|
4
|
150B1620
|
六角头螺栓
|
ex锁螺旋
|
5
|
DZ9114590125
|
六角头螺栓
|
橡胶板
|
6
|
问题40212
|
橡胶缓冲块
|
华瑟市
|
7
|
150B1235
|
大垫圈
|
ex锁螺旋
|
8
|
8141506.5269
|
六角头螺栓
|
支持括号
|
九九
|
问题33212
|
托架
|
ex锁坚果
|
10
|
9525990060
|
2型全金属六角缩紧螺
|
跨成员Assy
|
11
|
DZ9118593008
|
美术馆
|
右括号
|
横梁总成
|
|||
右支架总成
|

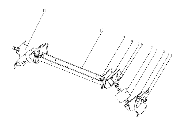
号
|
段 次 页 次
|
中文名
|
部件名
|
一号
|
问题33214
|
2型全金属六角缩紧螺母
|
ex锁坚果
|
2
|
DZ9112590883
|
左支架总成
|
左括号
|
3
|
150B1435
|
六角头螺栓
|
ex锁螺旋
|
4
|
150B1620
|
六角头螺栓
|
ex锁螺旋
|
5
|
DZ9114590125
|
橡胶缓冲块
|
橡胶板
|
6
|
问题40212
|
大垫圈
|
华瑟市
|
7
|
150B1235
|
六角头螺栓
|
ex锁螺旋
|
8
|
8141506.5269
|
托架
|
支持括号
|
九九
|
问题33212
|
2型全金属六角缩紧螺母
|
ex锁坚果
|
10
|
DZ9112590885
|
横梁总成
|
跨成员Assy
|
11
|
DZ9112590884
|
右支架总成
|
右括号
|

下一页 : 430PULAPRIGMCLUTCH |