2015-10-24 15:20:35

上一篇:
门,门锁下一个:
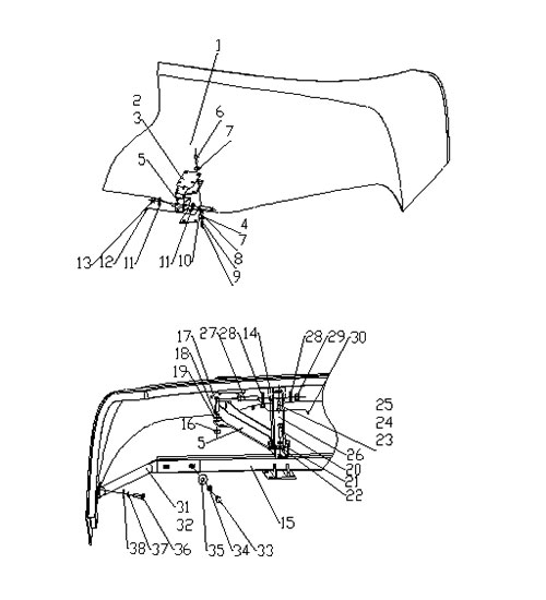
高门驾驶室的车顶扰流板| 不 | 零件编号 | 数量 | 指定 | 名称 |
| 1 | WG1662870022 | 1 | 车顶扰流板 | 导流罩 |
| 2 | WG1662870052 | 1 | 左前链接板用于车顶扰流板 | 导流罩左前连接板 |
| 3 | WG1662870053 | 1 | 车顶扰流板的右前链接板 | 导流罩右前连接板 |
| 4 | WG1662870054 | 2 | 部分 | 垫片 |
| 5 | WG1662870023 | 2 | 成员阵线用于车顶扰流板 | 导流罩前支总成 |
| 6 | Q40208 | 16 | 垫圈 | 大垫圈 |
| 7 | Q218B0825 | 8 | 六边形拧紧 | 内六角圆柱头螺钉 |
| 8 | Q40308 | 8 | 春季洗衣机 | 弹簧垫圈 |
| 9 | Q340B08 | 8 | 六边形螺母 | ⅰ型六角螺母 |
| 10 | Q173B1065 | 2 | 六边形螺栓 | 六角头螺杆带孔螺栓 |
| 11 | Q40210 | 4 | 垫圈 | 大垫圈 |
| 12 | Q5002532 | 2 | 前肢 | 开口销 |
| 13 | Q381b10 | 2 | 六边形螺母 | 1型六角开槽螺母-细牙-一个和b级 |
| 14 | WG1662870042 | 2 | 成员后部的车顶扰流板 | 导流罩后连接支架 |
| 15 | WG1662870026 | 1 | 会员后部用于车顶扰流板 | 导流罩后支架总成 |
| 16 | AZ1664870055 | 16 | 缓冲橡胶 | 橡胶垫 |
| 17 | Q150B0830 | 16 | 六边形螺栓 | 六角头螺栓 |
| 18 | Q40308 | 16 | 春季洗衣机 | 弹簧垫圈 |
| 19 | Q40208 | 16 | 垫圈 | 大垫圈 |
| 20 | Q150B1030 | 2 | 六边形螺栓 | 六角头螺栓 |
| 21 | Q40310 | 2 | 春季洗衣机 | 弹簧垫圈 |
| 22 | Q40210 | 4 | 垫圈 | 大垫圈 |
| 23 | Q150B0820 | 4 | 六边形螺栓 | 六角头螺栓 |
| 24 | Q40308 | 4 | 春季洗衣机 | 弹簧垫圈 |
| 25 | Q40208 | 4 | 垫圈 | 大垫圈 |
| 26 | WG1662870044 | 2 | 关联管子 | 连接方管 |
| 27 | Q173B1065 | 4 | 六边形螺栓 | 六角头螺杆带孔螺栓 |
| 28 | Q40210 | 2 | 垫圈 | 大垫圈 |
| 29 | Q381b10 | 4 | 六边形螺母 | 1型六角开槽螺母-细牙-一个和b级 |
| 30 | Q5002532 | 4 | 前肢 | 开口销 |
| 31 | WG1662870034 | 1 | 成员左 | 左弯管支架 |
| 32 | WG1662870035 | 1 | 会员权利 | 右弯管支架 |
| 33 | Q150B1030 | 4 | 六边形螺栓 | 六角头螺栓 |
| 34 | Q40310 | 4 | 春季洗衣机 | 弹簧垫圈 |
| 35 | Q40210 | 4 | 垫圈 | 大垫圈 |
| 36 | Q150B0820 |